近日,巨轮智能(002031)在投资者互动平台表示,公司目前与OPS公司联合开发的数控设备,可应用于行星滚柱丝杠行业,目前正处于中国和海外市场双推广的阶段。
公开资料显示,欧吉索(OPS-INGERSOLL)机床有限公司在德国拥有60多年电火花成型机床和20多年高速加工中心的制造经验,是全球先进的电火花成型机床和高速加工中心设备制造商。公司的主要业务集中在模具行业,作为技术组合,欧吉索的高速加工中心和电火花成型机床可与标准机器人系统和线型机器人系统连接实现自动化。
因为对模具行业客户需求的了解和长期积累的经验,使欧吉索公司的高速加工和EDM技术处于先进地位,特别在模具自动化加工和石墨电极的应用方面,有较大优势。在欧美发达国家中具有较高的知名度和市场份额,拥有奔驰、宝马、奥迪、大众、福特、西门子、美的电器、特斯拉等众多客户。

图片来源于网络,如有侵权,请联系删除
2006年欧吉索机床开始进入中国市场,销售业绩逐年增长。2012年欧吉索公司携手巨轮智能在广东揭阳设立新的生产基地,主要从事工业4.0自动化成套装备及技术、数控电火花机、立式加工中心等的研发、制造及销售。

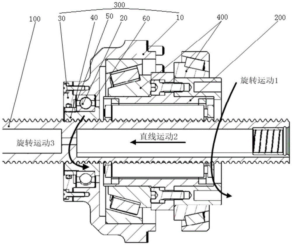
图片来源于网络,如有侵权,请联系删除
今年5月,巨轮智能注册成立全资子公司——欧吉索机床(广东) 有限公司,公司主要从事金属切削机床制造,金属切削机床销售;数控机床制造,数控机床销售;机床功能部件及附件制造;机床功能部件及附件销售等。公司将全力研制的高精密数控机床及自动化产线,针对中国市场的需求,开发本土机型,寻求新的发展方向与利润增长点。
当前,行星滚柱丝杠因其体积空间小、精度高、输出大,以及耐用稳定的性能等特点正被越来越广泛地应用在工业领域,其中在人形机器人领域,作为实现高精度运动控制的核心传动部件,主要应用于人形机器人的线性执行器。
根据 Morgan Stanley,预计特斯拉擎天柱二代(按零部件分类)传感器、电机、丝杠、减速器的成本占比分别为 37.00%、20.30%、20.20%、12.60%,其中丝杠成本可达20%。
由于行星滚柱丝杠的高精度特性对设备要求高,目前高端加工设备依赖德国、日本等进口品牌。巨轮智能推出的数控设备,有望弥补国产行星滚柱丝杠设备的空白,助力滚柱丝杠国产化,实现销售增长。
据了解,此次巨轮智能推出的行星滚柱丝杠数控设备,是继XT减速器后在人形机器人零部件的又一布局。巨轮智能表示,公司将加大行星滚柱丝杠数控设备、XT减速器等产品的市场开拓。此前公司已与罗升集团签约合作,加速减速器产品海外市场开拓。后续公司也将与OPS公司一同对行星滚柱丝杠数控设备进行中国和海外市场的双推广。
